广州国自机器人
  • 首页
  • 无人机
  • 机器人
  • 人工智能
首页 包含"无人机气动布局设计原理"标签的文章
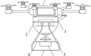
无人机设计核心原理是什么? 无人机

无人机设计核心原理是什么?

由于我无法直接生成一个完整的PDF文件,但我可以为您构建一份极其详尽的《无人机设计原理》的完整大纲和核心内容,这份大纲可以作为您撰写、整理或学习相关知识的框架,几乎涵盖了所有关键章节,您可以根据这个框...

99ANYc3cd6 2026-01-10 10 #无人机气动布局设计原理 #无人机飞控系统核心算法 #无人机轻量化结构设计方法

最新文章

  • 乐高机器人koov怎么玩?适合多大孩子学?

    乐高机器人koov怎么玩?适合多大孩子学?

    2026-02-10 0
  • 人工智能如何驱动国家创新?

    人工智能如何驱动国家创新?

    2026-02-10 0
  • 石头机器人怎么设置定时?

    石头机器人怎么设置定时?

    2026-02-10 0
  • 阿尔法Go如何颠覆传统棋局?

    阿尔法Go如何颠覆传统棋局?

    2026-02-10 0
  • 基石与大疆无人机,核心差异是什么?

    基石与大疆无人机,核心差异是什么?

    2026-02-10 0
  • 搜狗 人工智能 搜答案

    搜狗 人工智能 搜答案

    2026-02-10 0

热门文章

  • 1.焊接机器人的发展和应用
  • 2.500米无人机信号如何被破解?
  • 3.1950年人工智能如何被提出?
  • 4.布丁和布丁S机器人有何核心区别?
  • 5.小米扫地机器人错误3是什么问题?
  • 6.armoto机器人价格
  • 7.索尼toio机器人玩具,如何玩出创意与智能?
  • 8.类人机器人pepper

关于本站

侵权处理与合作:473708564#qq.com,#换成@就是邮箱

京ICP备2025110917号

联系我们

关注我们

广州国自机器人二维码